| フライホイール取り付け時の注意点 |
| ◆スチール2ストロークおよび4Mixエンジンにおいての注意点ですが、その他のエンジンについても同様に注意した方がいいと思います。 | |
![]() |
◆クランクシャフトとフライホイールの接続部分にグリースやオイルがないことが重要です。 クランクシャフトとフライホイールは摩擦で接続されます。クランクシャフトとフライホイールがたがいに強<押し付けられることで、フライホイールは変形せずに、クランクシャフトにしっかり固定されます。 上記の接続方法では、接触面に油やグリースがあってはいけません。 円錐状の締りばめによって取り付けられているため、正確に中心が合っており、動きは円滑で、高度な同心円を描きます。 半月キー(1)は、フライホイールをクランクシャフトに対して適正な位置に置<ために使用されます(適正なイグニッションタイミング)。 |
![]() |
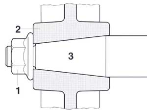
ナット(1)によりフライホイール(2)をクランクシャフト(3)に押し付け、必要な表面圧を生成して、フライホイールをクランクシャフトに、変形することな<、しっかり保持します。 |
![]() |
◆フライホイールの取付け 取り付ける前に、クランクシャフトの根本とフライホイールハブの穴を掃除して、脱脂します! ほこり、グリース、およびオイルで汚れていると、フライホイールに過度な軸方向の圧縮応力が掛かり、接触面圧が許容値以上になってしまいます。 これにより、フライホイールにひびや損傷ができ、フライホイールの動作障害の原因になります。 クランクシャフトの根本(3)とフライホイールハブの穴(2)を塩化炭化水素やハロゲン化炭化 水素を含まない市販の溶剤ベースの脱脂剤で掃除してください。 @半月キーまたは一体型キーに損傷がないことを確認し、必要に応じて、半月キーかフライホイールを交換します。 A半月キー(1)が適正に取り付けられていることを確認します。なお、キーがフライホイールと一体型になっている場合もあります。 Bフライホイールを取付け、正しい位置に合せます。 キーは、溝と一列になるようにします。 Cロックナットまたはスクリューを取付け、指定トルクで締めつけます。 |
